Спецмашинжиниринг

+7 (4722) 34-50-28

МЕНЮ
ЗАКАЗАТЬ ЗВОНОК

SM-G-25-25-4-06-45

Главная - Инструмент - Фрезы - Борфрезы - Тип G - Борфрезы параболические с точечным торцом - Глубокая одинарная насечка

SM-G-25-25-4-06-45

Артикул: 2552, Бренд: СМИ, Страна: Россия, Наличие: Под заказ

Уточнить Добавить в корзину

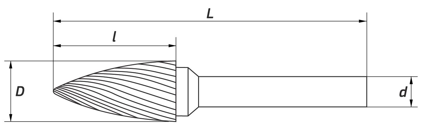
Характеристики:

D, мм
25
l, мм
25
L, мм
70
d, мм
6

Описание:

Твердосплавная бор-фреза параболическая с точечным торцом Тип G .
Размеры : диаметр рабочей части 25 мм, диаметр хвостовика 6 мм, длина рабочей части 25 мм, длина хвостовика 45 мм. Глубокая одинарная насечка.
Подходит для завершающей обработки металлических внутренних углов и скругленных поверхностей.

Инфрмация для заказа:

На сайте СПЕЦМАШИНЖИНИРИНГ.РФ Вы можете купить SM-G-25-25-4-06-45, добавив товар в корзину и оставив контактные данные или позвонив по телефону +7 (4722) 34-50-28. Наши менеджеры проконсультируют Вас и примут заказ.

КОНТАКТНАЯ ИНФОРМАЦИЯ

Посмотреть на карте Белгорода